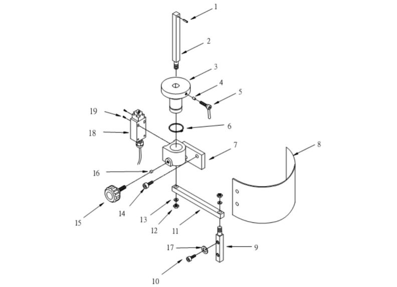
A635 Adjustable Swing Away Safety Shield Assembly

Stock Number
A635-1
Grouped product items
Product NamePrice
No options of this product are available.
More Information
Stock NumberA635-1
Write Your Own Review
You're reviewing:A635 Adjustable Swing Away Safety Shield Assembly
Your Rating
Specifications Print
What's this? Check "Remember Me" to access your shopping cart on this computer even if you are not signed in.