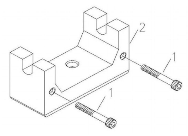
EVS-1440B Chuck Key Bracket Assembly

Stock Number
311440-16
Grouped product items
Product NamePrice
No options of this product are available.
More Information
Stock Number311440-16
Write Your Own Review
You're reviewing:EVS-1440B Chuck Key Bracket Assembly
Your Rating
Specifications Print
What's this? Check "Remember Me" to access your shopping cart on this computer even if you are not signed in.