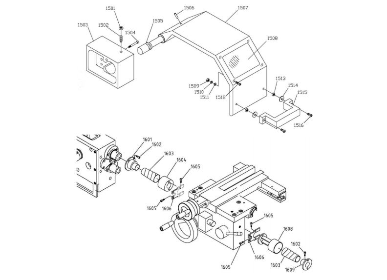
GH-1440B Chuck and Leadscrew Guards

Stock Number
323440-14
Grouped product items
Product NamePrice
No options of this product are available.
More Information
Stock Number323440-14
Write Your Own Review
You're reviewing:GH-1440B Chuck and Leadscrew Guards
Your Rating
Specifications Print
What's this? Check "Remember Me" to access your shopping cart on this computer even if you are not signed in.