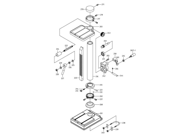
GHD-20PFT Base, Table, and Column Assembly

Stock Number
354026-3
Grouped product items
Product NamePrice
No options of this product are available.
More Information
Stock Number354026-3
Write Your Own Review
You're reviewing:GHD-20PFT Base, Table, and Column Assembly
Your Rating
Specifications Print
What's this? Check "Remember Me" to access your shopping cart on this computer even if you are not signed in.