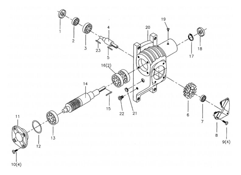
HBS-916 Gear Speed Reducing Box

Stock Number
414468-3
Grouped product items
Product NamePrice
No options of this product are available.
More Information
Stock Number414468-3
Write Your Own Review
You're reviewing:HBS-916 Gear Speed Reducing Box
Your Rating
Specifications Print
What's this? Check "Remember Me" to access your shopping cart on this computer even if you are not signed in.