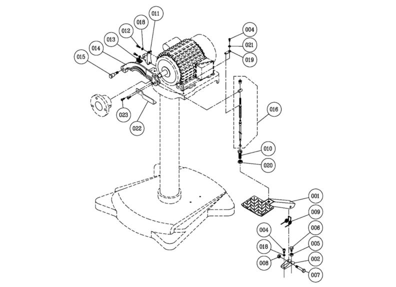
J-4421-4 Foot Brake Assembly

Stock Number
577011-2
Grouped product items
Product NamePrice
No options of this product are available.
More Information
Stock Number577011-2
Write Your Own Review
You're reviewing:J-4421-4 Foot Brake Assembly
Your Rating
Specifications Print
What's this? Check "Remember Me" to access your shopping cart on this computer even if you are not signed in.