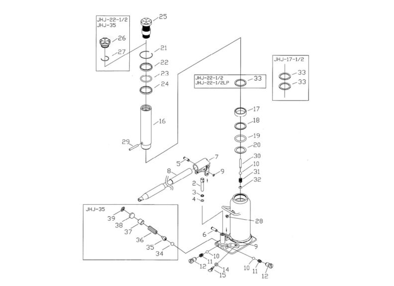
JHJ-17-1/2 Complete Machine

Stock Number
453317-1
Grouped product items
Product NamePrice
No options of this product are available.
More Information
Stock Number453317-1
Write Your Own Review
You're reviewing:JHJ-17-1/2 Complete Machine
Your Rating
Specifications Print
What's this? Check "Remember Me" to access your shopping cart on this computer even if you are not signed in.