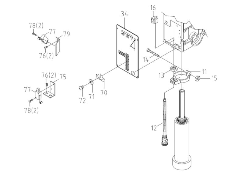
JMD-45VSPFT Tapping Assembly

Stock Number
351051-4
Grouped product items
Product NamePrice
No options of this product are available.
More Information
Stock Number351051-4
Write Your Own Review
You're reviewing:JMD-45VSPFT Tapping Assembly
Your Rating
Specifications Print
What's this? Check "Remember Me" to access your shopping cart on this computer even if you are not signed in.