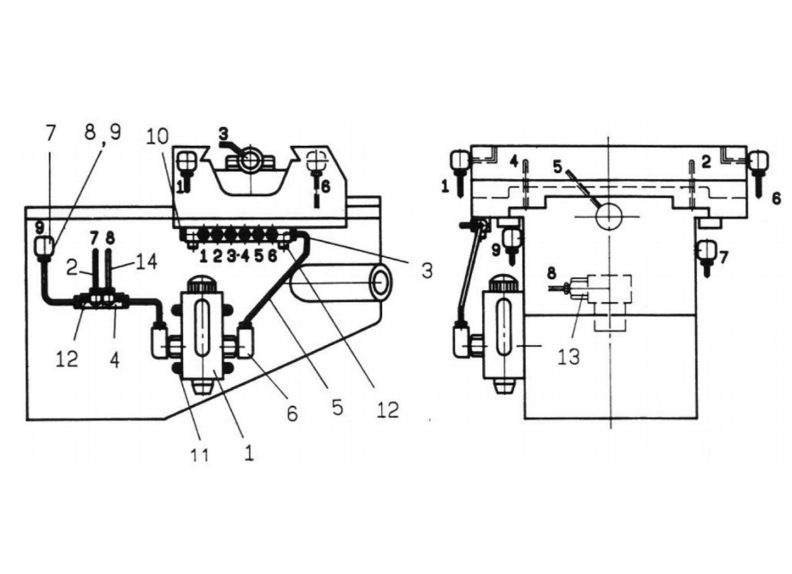
JTM-1050VS2 One-Shot Lubrication System

Stock Number
690120-5
Grouped product items
Product NamePrice
No options of this product are available.
More Information
Stock Number690120-5
Write Your Own Review
You're reviewing:JTM-1050VS2 One-Shot Lubrication System
Your Rating
Specifications Print
What's this? Check "Remember Me" to access your shopping cart on this computer even if you are not signed in.