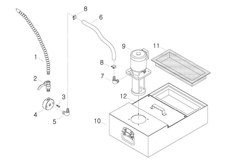
JTM-1254RVS Coolant Pump

Stock Number
690020-7
Grouped product items
Product NamePrice
No options of this product are available.
More Information
Stock Number690020-7
Write Your Own Review
You're reviewing:JTM-1254RVS Coolant Pump
Your Rating
Specifications Print
What's this? Check "Remember Me" to access your shopping cart on this computer even if you are not signed in.