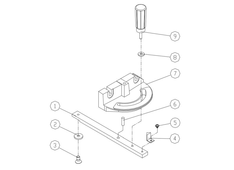
| Index Number | Part Number | Description | Size | Qty |
| JWBS15-1122 | Miter Gauge Assembly (#1 thru 9) | |||
| 1 | JWBS15-1122-701 | Guide Bar | 1 | |
| 2 | JWBS15-1122-702 | Guide Piece | 1 | |
| 3 | JWBS15-1122-703 | Countersunk Bolt | M6x6 | 1 |
| 4 | JWBS15-1122-704 | Pointer | 1 | |
| 5 | PWBS14-251-5 | Pan Head Flanged Screw | M5x8 | 1 |
| 6 | JWBS15-1122-706 | Steel Pin | Ø6x10mm | 1 |
| 7 | JWBS15-1122-707 | Miter Gauge Body | 1 | |
| 8 | JWBS15-1122-708 | Nylon Washer | 1 | |
| 9 | JWBS15-1122-709 | Handle | 1 |
| Stock Number | 714650-9 |
|---|
Write Your Own Review

