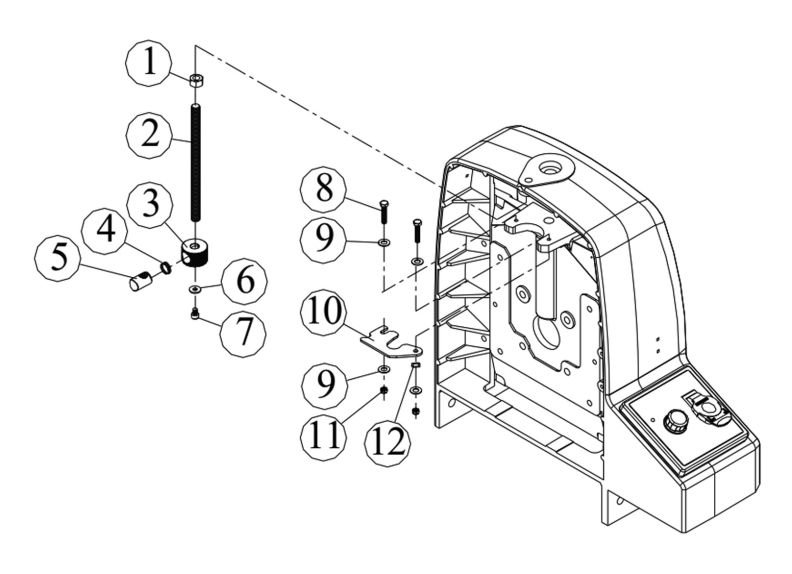
| Index Number | Part Number | Description | Size | Qty |
| 723553 | Depth Stop Assembly (#1 thru 12) | |||
| 1 | JWDS2244-601 | Special Nut | 1 | |
| 2 | JWDS2244-602 | Threaded Post | 1 | |
| 3 | JWDS2244-603 | Stop Nut | 1 | |
| 4 | JWDS2244-604 | Compression Spring | 1 | |
| 5 | JWDS2244-605 | Half Nut | 1 | |
| 6 | TS-1550031 | Flat Washer | 5.2 x 16 x 1.4T | 1 |
| 7 | TS-1502031 | Socket Head Cap Screw | M5-0.8P x 12L | 1 |
| 8 | TS-1482051 | Hex Cap Screw | M6-1.0P x 25L | 2 |
| 9 | TS-1550041 | Flat Washer | 6.4 x 16 x 1.6T | 4 |
| 10 | JWDS2244-610 | Stop Plate | 1 | |
| 11 | TS-1541021 | Nylon Lock Hex Nut | M6-1.0P | 2 |
| 12 | JWDS2244-612 | Wave Washer | WW-6 | 1 |
| Stock Number | 723540OSK-6 |
|---|
Write Your Own Review
