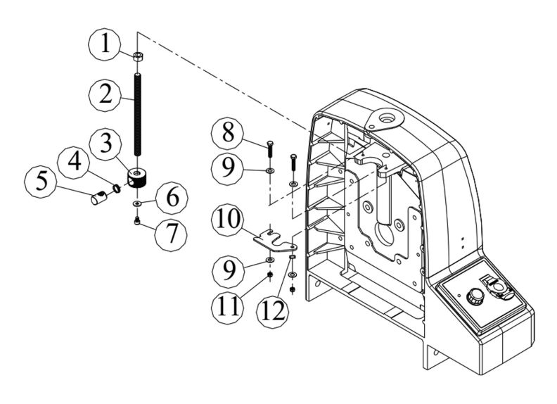
JWDS-2550 Closed Stand Depth Stop Assembly

Stock Number
723544CSK-6
Grouped product items
Product NamePrice
No options of this product are available.
More Information
Stock Number723544CSK-6
Write Your Own Review
You're reviewing:JWDS-2550 Closed Stand Depth Stop Assembly
Your Rating
Specifications Print
What's this? Check "Remember Me" to access your shopping cart on this computer even if you are not signed in.