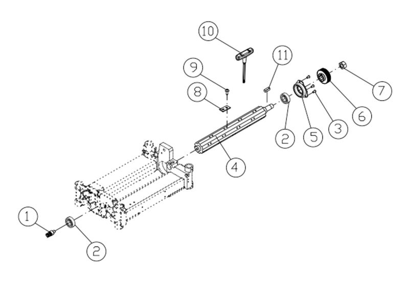
| Index Number | Part Number | Description | Size | Qty |
| JWP13BT-CA | Cutterhead Assembly (includes #1-9,11) | |||
| 1 | JWP13BT244-01 | Shaft Gear | 12t | 1 |
| 2 | BB-6203ZZ | Ball Bearing | 6203ZZ | 2 |
| 3 | TS-2245102 | Socket Head Button Screw | M5-0.8x10 | 3 |
| 4 | JWP13BT244-04 | Cutterhead | 1 | |
| 5 | JWP13BT244-05 | Bearing Seat | 1 | |
| 6 | JWP13BT244-06 | Spindle Pulley | 1 | |
| 7 | JWP13BT244-07 | Nut (LH) | M16-2.0P | 1 |
| 8 | 722131 | Knife Insert (set of 10) | 26 total | |
| 9 | JWP13BT244-09 | Knife Insert Screw | 52 | |
| 10 | JWP13BT244-10 | Allen Wrench, T-Handle | 3mm | 1 |
| 11 | KF2R5512 | Flat Key, Dbl Rd Hd | 5x5x12 mm | 1 |
| Stock Number | 722130-4 |
|---|
Write Your Own Review
